随着近几年市场利率一直处于下行趋势,以风险极低和收益稳健,被稳健型投资者奉为圭臬的货币基金,其收益率也处在下行趋势。
尽管近期多家基金公司下调了其货币基金的费率,比如:10月10日,天弘现金管家货币市场基金公告将基金的管理费年费率由0.33%调低为0.15%;银华多利宝货币市场基金宣布自10月18日起基金托管费年费率由0.10%调低至0.05%。但仍旧难掩货币基金收益率“感人”的事实。
Wind统计数据显示,截至10月16日,共有80余只货基的七日年化收益率已跌破1%。尽管收益下降,货币基金的规模在今年反而实现增长。
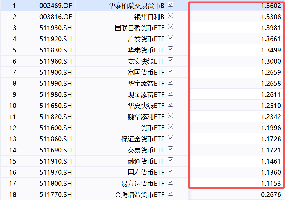
场内的货币ETF同样命运多舛,在全市场960只货币基金ETF中,年初至今收益超过1%的仅17只,其中占比不到2%。而这样的收益水平甚至不如银行的定存类产品。
年初至今仅17只货币类ETF产品收益破“1”

数据来源:同花顺IfinD 截至:2025.10.23
然而,一个看似矛盾的现象正在公募基金市场悄然上演:一边是货币基金的收益率持续走低,已有65只产品7日年化收益率跌破1%,最低甚至不足0.8%。另一边却是货币基金的规模不断上升。
中基协发布的最新公募基金市场数据显示,截至今年8月底,我国货币基金总规模约为14.81万亿元,与去年年底的13.61万亿元相比增长1.2万亿元。
对比年初数据看,货币基金增量最为突出,7个月内规模新增超1万亿元,从今年5月开始,年内公募货币基金规模首次突破14万亿元关口,并连续4个月维持在14万亿元之上。

数据来源:同花顺IfinD 截至:2025.10.23
这矛盾的背后反映出当前资产荒之下稳健投资者的左右为难
后疫情时代,居民的收益诉求首先是稳定。在2022年底债市负反馈的冲击下,居民首先注重收益稳健,因此2022年下半年到2023年上半年开放式理财很显著缩量,封闭式理财的规模反而稳中有增,占比显著增长。
在如今广谱利率持续走低背景下,居民的流动性诉求不断提升,但前面提到居民风险偏好仍然处于低位,因此在流动性管理方面有一定的优势货基似乎成了稳健投资者为数不多的选择之一。
近期权益市场行情波动和不确定性增强,存在部分资金还未做好购买债基或股基的准备,出于过渡需求暂时投向了货币基金。除此之外,货币基金具有门槛低、风险低、流动性高等特点,加上为了吸引年轻人的便捷需求,根据其投资消费偏好,一些货币基金与购物场景做了结合,多方因素的叠加规模仍持续增长。
稳健投资者还有哪些备选项?
首先就是短债基金,2025年以来,短债基金平均7日年化收益率稳定在2.8%-3.2%,最大回撤不足0.3%,远超货币基金收益,且流动性接近活期,成为投资者“闲置资金的优选去向”,其核心价值在于“稳”与“活”的平衡。
相较于货币基金而言,短债基金在可投范围、资产久期和杠杆率等方面相对具备更加灵活的操作空间,可以通过适度拉长组合期限、增加信用债投资、提高杠杆率等方式来争取相对更高的风险收益。
相较于中长期纯债基金而言,由于短债基金将非现金资产的80%投向剩余期限不超过397天的债券资产,也决定了其相对受利率变化的影响较小、流动性也更强。拉长时间维度看,Wind数据显示,万得短期纯债型基金指数自2006年7月31日发布以来,连续19年实现年度正收益,年均涨幅介于0.65%—6.13%。

数据来源:Wind 时间区间:2006-2024
从产品端看,结合规模和收益来看有两只产品表现较为亮眼,分别是:长城短债A和鹏华丰恒A,两只产品不仅在2季度业绩端排名靠前,同样在规模上也是TOP20的存在,因此这两支基金在多维度表现都较为出挑。
2025第二季度短债业绩排名靠前

数据来源:Wind 截至:2025.06.31
其次红利资产也是不错选择,随着三季报的陆续发布,许多上市公司也在拟定相关的分红事宜,红利资产再度受到追捧,“红利指数”凭借持续分红与相对低波动,成为组合配置中的明星选手,也是稳健投资者的另一个选择。
中证红利指数行业分布相对均衡,前三大行业金融(25.2%)、能源(19.4%)和工业(19.3%)合计占比63.9%,构成核心支柱。原材料(12.8%)与可选消费(12.4%)权重接近,形成有效补充。该指数显著偏向传统周期板块(金融、能源、工业、原材料合计76.7%),对宏观经济周期敏感度高。
从业绩端看,尽管今年上半年成长风格一骑绝尘,但是中证红利整体的收益率依旧维持在4.5%左右,相对于货币基金的与银行定存1%的水平,红利整体收益也算中规中矩。而其波动基本控制在15%以内,在市场中也配的上稳健二字。
数据来源:同花顺IfinD 截至:2025.10.23
从产品端看,由于其成立时间最早(2008.05.26),因此场内跟踪的产品比较丰富,产品总规模在2024年“资产荒”时期有较大增长,整体维持在300亿左右。相关ETF有6只,易方达中证红利ETF (515180)规模超85亿位居首位。招商中证红利(ETF 515080)规模超过70亿同样也是跟踪该指数的重量级选手。
以上内容与数据,与有连云立场无关,不构成投资建议。据此操作,风险自担。